| No | Aant | Omschrijving | Artikel No. |
| 31 | 2 | Lager | 91066-415-006 |
| 19 | 1 | Stofseal | 52118-ME5-004 |
| 20 | 1 | Stofseal | 52118-415-000 |
| 29 | 1 | Kroonmoer | 90354-ME5-000 |
| 32 | 2 | Oliekering | 91266-ME5-003 |
| 17 | 1 | Achterbrug | 2e hands |
| No | Aant | Omschrijving | Artikel No. |
| 12 | 4 | Moertjes | 94050-06000 |
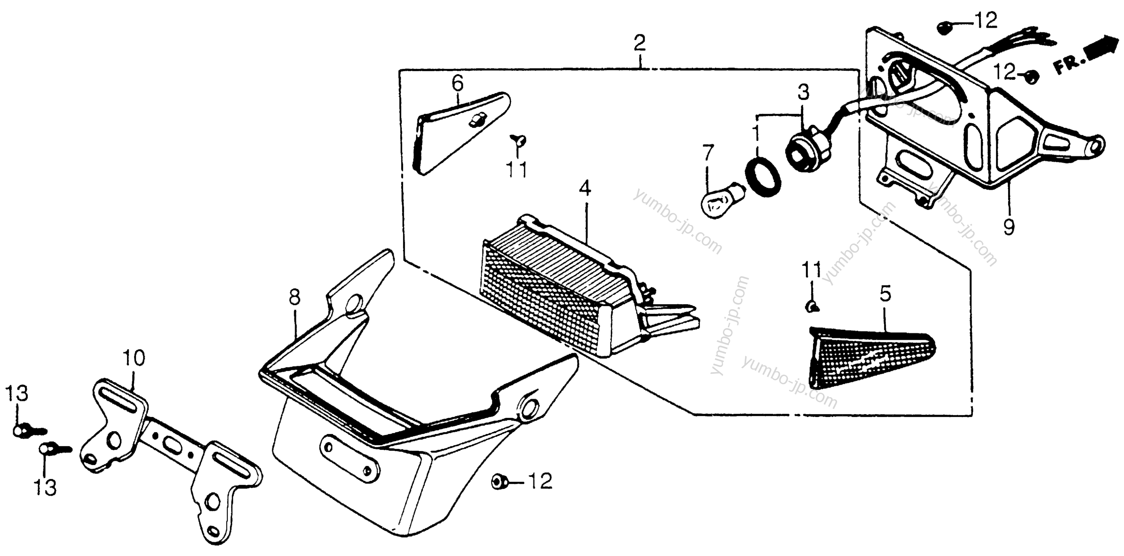
| 5 | 1 | Reflector Rechts | 33742-ME5-671 |
| 6 | 1 | Reflector Links | 33743-ME5-671 |
| 11 | 2 | Schroefjes reflector | 93903-35280 |
| 4 | 1 | Achterlicht | 2e hands |
| No | Aant | Omschrijving | Artikel No. |
| 5 | 1 | Remvoering Kit | 06430-MW3-671 |
| 11 | 2 | Splitpen | 94201-25300 |
| No | Aant | Omschrijving | Artikel No. |
| 9 | 2 | Lager Radiaal | 96140-6303010 |
| No | Aant | Omschrijving | Artikel No. |
| 19 | 2 | Bout ophanging voor | 901021-MN0-000 |
| 7 | 4 | Rubber bevestiging | 50203-MB0-010 |
| 25 | 3 | Moer ophanging | 94050-10000 |
| 18 | 1 | Bout ophanging achter | 90123-MJ1-000 |
| 26 | 1 | Boutje | 95701-06012-00 |
| No | Aant | Omschrijving | Artikel No. |
| 23 | 4 | Schroefjes Dekseltje | 93600-04012-0G |
| No | Aant | Omschrijving | Artikel No. |
| 13 | 1 | Schroefje | 92300-05012-0A |
| 12 | 1 | Busje | 90501-MB3-000 |
| No | Aant | Omschrijving | Artikel No. |
| 5 | 1 | Oliefilter element | 15410-426-010 |
| 15 | 1 | Tapplug | 92800-12000 |
| 7 | 1 | Veer Oliefilter | 15415-300-000 |
| 14 | 1 | O-ring 89x4,5 | 91302-377-000 |
| 16 | 1 | Ring | 94109-12000 |
| 6 | 1 | zitting veer | 15414-300-000 |
| 13 | 2 | O-ring 15x2,5 | 91302-377-000 |
| 9 | 1 | Klep Check | 15473-300-300 |
| 10 | 1 | Veer Klep Check | 15474-300-310 |
| 11 | 1 | Pin veer setting | 15477-300-300 |
| No | Aant | Omschrijving | Artikel No. |
| 6 | 1 | Rubber | 24781-419-000 |
| 2 | 1 | Busje | 24705-MB0-000 |
| 26 | 1 | Borgboutje | 95701-06018-00 |
| 5 | 2 | Hoesje | 24724-422-000 |
No | Aant | Omschrijving | Artikel No. |
10 | 2 | Steun voor | 33490-MJ1-971 |
6 | 4 | Pakkingen | 33407-MB1-003 |
18 | 4 | Schroef | 90380-MB1-000 |
21 | 4 | Moer | 94050-12000 |
20 | 12 | Lens schroefjes | 93901-34610 |
15 | 2 | Steun achter | 33690-ME5-003 |
| No | Aant | Omschrijving | Artikel. No. |
| 15 | 1 | Moer | 94021-100200S |
| 12 | 3 | Sluitring | 90521-292-000 |
| 7 | 1 | Bus | 52486-463-000 |
| 8 | 4 | Rubber | 52489-461-771 |
| 11 | 1 | Sluitring | 90439-463-000 |
| 14 | 2 | Moer | 94001-100000S |
| 13 | 1 | Bout | 93201-1003508 |
| No | Aant | Omschrijving | Artikel No. |
| 13 | 2 | Kussen | 17611-KE8-000 |
| No | Aant | Omschrijving | Artikel No. |
| 7 | 1 | Klem middenstuk | 18375-413-000 |
| 2 | 8 | Kraagjes | 18233-460-000 |
| 8 | 2 | Pakking | 18392-MG7-750 |
| 3 | 4 | Pakking | 18291-MN4-920 |
| 12 | 1 | Moer tussenklem | 95801-08040-00 |
| 11 | 2 | Strandaard stopper | 50524-MG9-000 |
| 17 | 2 | Ring 8mm | 94103-08000 |
| 18 | 2 | Moetje | 95701-0620-00 |
| 15 | 2 | Ring Lock | 90401-MA1-000 |
| 16 | 4 | Moertje | 93893-06010-00 |
| No | Aant | Omschrijving | Artikel No. |
| 1 | 2 | Rubber | 18421-ME5-000 |
| 26 | 2 | Splitpen | 94201-16100 |
| 27 | 2 | Splitpen | 94201-16250 |
| No | Aant | Omschrijving | Artikel No. |
| 1 | 2 | Bleeder Schroef | 43352-568-003 |
| 2 | 2 | Bleeder Cap | 43353-461-771 |
| 11 | 4 | Zuiger Stof Seal | 45109-166-006 |
| 14 | 2 | Sleeve | 45111-MA3-006 |
| 15 | 2 | Beugel | 45112-445-631 |
| 18 | 2 | Bout Pin | 45131-MA3-006 |
| 19 | 2 | Schoen B | 45133-MA3-006 |
| 20 | 4 | Schoen Sleeve | 45133-166-016 |
| 23 | 4 | Zuiger Seal | 45209-166-006 |
| 26 | 4 | Pin Hanger | 45215-MA3-006 |
| 28 | 1 | Sleeve Klauw Beugel | 51536-MB2-000 |
| 30 | 1 | Bout 10x40 | 90131-MB2-000 |
| 32 | 2 | Bout Flance | 90180-MN8-006 |
| 36 | 2 | O-Ring 13,8x2,4 (NOK) | 91311-PH7-003 |
| 37 | 2 | Washer Plain 10mm | 94102-10000 |
| 38 | 2 | Bout | 95701-06010-07 |
| 8 | 4 | Remblokken (45105-MM9-782) | 45105-KL8-014 |
| No | Aant | Omschrijving | Artikel No. |
| 14 | 1 | Master cilinder set | 45530-MA5-671 |
| 17 | 1 | Bout Handvat | 90114-MA5-671 |
| 25 | 1 | Moertje | 94050-0600000 |
Downloadable files like Photo's and Downloads is basically © by Marco Scharrenberg and is licensed under Creative Commons Attribution-NonCommercial-ShareAlike 4.0 International